哪吒汽车CEO被员工围堵在办公室:大家集体讨薪
来源:互联网
时间:2026-04-14 04:37:26
6月12日消息,据媒体报道,不少哪吒汽车员工发布短视频,哪吒汽车董事长兼CEO方运舟被堵在办公室,员工集体讨薪。
此前在5月份,哪吒汽车上海总部LOGO被拆除,公司计划将上海总部从普陀区搬往虹桥商务区,新总部开工没多久就有员工讨薪。

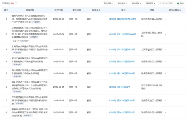
值得注意的是,天眼查法律诉讼信息显示,近日哪吒汽车关联公司合众新能源汽车股份有限公司新增一则被执行人信息,执行标的1750万余元,执行法院为桐乡市人民法院。
天眼风险信息显示,该公司现存100余条被执行人信息,被执行总金额超1.5亿余元,而且该公司还存在多条限制消费令、股权冻结信息。

此前哪吒汽车也有过高光时刻,2022年,哪吒汽车的销售量同比增长136.76%,达到15.2万辆,成为新势力年度销冠。
进入2023年,中国新能源汽车市场竞争加剧,哪吒汽车原有的“低价”竞争力下降,销量开始下滑,到了2024年,哪吒汽车销量出现断崖式下滑。


本文标签: #哪吒汽车 #哪吒